Venecianas de Exterior

Persiana veneciana exterior VR 70 / VR 90

 

Su versatilidad la convierte en una persiana veneciana compacta especialmente atractiva. Es ideal tanto para viviendas unifamiliares y bloques de apartamentos como para edificios públicos y oficinas, adaptándose con elegancia y precisión técnica a los entornos arquitectónicos más diversos. La forma especial de sus lamas permite un control exacto y completo de la entrada de luz natural, lo que facilita modular la iluminación interior para crear el ambiente perfecto: acogedor para el hogar, funcional para el trabajo o relajante para un descanso reparador. Respaldada por una tecnología compacta probada y fiable, esta persiana destaca por su manejo sencillo, su funcionamiento silencioso y su gran aceptación entre los usuarios. 

Control lumínico sencillo para ambientes perfectos

Gracias a sus lamas ajustables en cualquier posición, esta persiana veneciana compacta permite modular con precisión la entrada de luz natural, creando el ambiente ideal para cada momento del día.

Además de su versatilidad estética, destaca por su eficiencia energética: su excelente aislamiento térmico reduce el consumo sin sacrificar confort. Su diseño modular facilita la instalación en edificios existentes, y su cinta de sujeción reforzada con Kevlar garantiza mayor resistencia y seguridad.

 
 
 
Ambos admiten sistema de guía mediante perfil, cordón o combinación de ambos para mayor estabilidad ante el viento. Su flexibilidad de montaje —en hueco, con panel o precolgada— permite integrarse armoniosamente en prácticamente cualquier tipología arquitectónica.

 

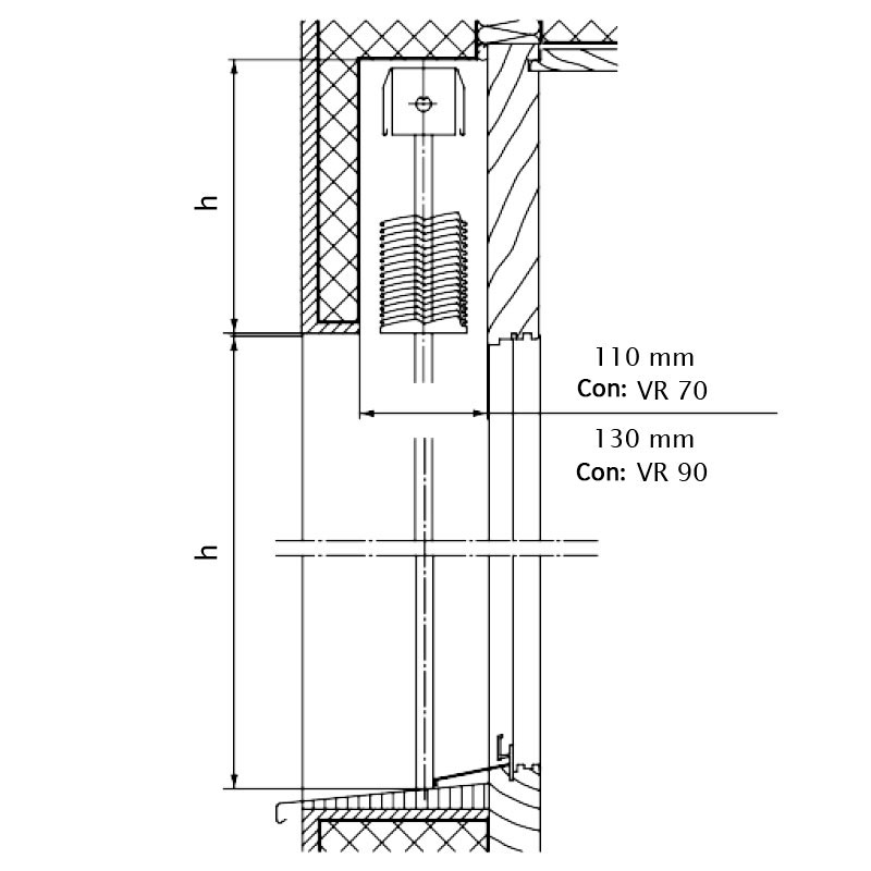
Dimensiones del Hueco en mm
Altura Libre (al) Altura de hueco (ac)
VR 70 Manual VR 70 Engranajes en el área de las lamas VR 70 Motor VR 90 Manual / Motor VR 90 Engranajes en el área de las lamas  
600-1000 190 205 195 230 245
1001-1250 205 215 215 230 245
1251-1500 215 230 230 230 245
1501-1750 230 245 245 230 245
1751-2000 250 265 265 235 250
2001-2250 265 280 280 245 260
2251-2500 285 300 300 260 275
2501-2750 300 315 315 275 290
2751-3000 320 335 335 290 305
3001-3250 335 350 350 300 315
3251-3500 255 370 370 315 330
3501-3750 370 385 385 330 345
3751-4000 390 405 405 345 360
4001-4250 405 420 420 355 370
Para versiones con galería se deben añadir 5 mm. adicionales
 
 
 
 
 

Dimensiones máximas/mínimas

 

individual Acoplado
  Manual Motor Manual Motor
Altura libre (al) max. 4.25 m 4.25 m 4.25 m 4.25 m
Ancho de construcción (ac) mín. 0.41 m 0.52 m    
Superficie máxima 9.00 m2 11.00 m2 9.00 m2 35.00 m2